Kami akan membentangkan prestasi, kaedah operasi yang selamat, dan parameter teknikal switchgear voltan sederhana KYN28-12

Gunakan keadaan alam sekitar
◆ Suhu udara ambien: had atas 40 ° c had yang lebih rendah-10 ° c di kawasan umum:
◆ Ketinggian: 1000m;
◆ Kelembapan:
Kelembapan relatif: purata harian tidak melebihi 95%, dan purata bulanan tidak melebihi 90%;
Tekanan wap air: purata harian tidak lebih besar daripada 2.2KPa, dan purata bulanan tidak lebih besar daripada 1.8KPa
Pemeluwapan mungkin berlaku apabila plummets suhu, disertai dengan kotoran, dan produk ini sesuai untuk dua keadaan alam sekitar yang lebih kuat daripada keadaan normal berikut:
(1). Pemeluwapan jarang (tidak lebih daripada dua kali sebulan secara purata) dengan kotoran ringan;
(2). Secara amnya tiada pemeluwapan (tidak lebih daripada dua kali setahun secara purata) dengan pencemaran yang serius;
◆ Tiada kebakaran, bahaya letupan dan pencemaran yang serius cukup untuk menghancurkan penebat logam dan kerosakan dan tempat-tempat lain yang keras;
◆ Tidak ada getaran ganas, lebam dan kecenderungan menegak tidak lebih daripada 80;
Nota: (1) penyimpanan dan pengangkutan dibenarkan pada-30 ° c;
(2) apabila ketinggian melebihi 1000m, ia hendaklah dikendalikan mengikut JB/2102 "keperluan teknikal untuk kawasan ketinggian untuk penggunaan peralatan elektrik voltan tinggi"; apabila ketinggian tidak melebihi 2000m, peralatan bantu tekanan rendah tidak perlu mengambil sebarang langkah;
(3) apabila keadaan sebenar penggunaan berbeza dari atas, ia harus dirundingkan antara pengguna dan pengilang.
Model dan makna
K Y N 28 - 12/□ - □
-RatedMemecahkan litar pintas semasa (KA: A)
-RatedSemasa (A: A)
-Rated Voltan (KV).
└─Nombor siri reka bentuk
└─Dalam rumah
└─Gerakkan jenis
Logam Perisai
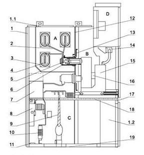
Gambarajah skematik struktur switchgear yang
Rajah 1

A: A. Pemutus litar petak B. Petak Busbar
C. Bilik kabel D. Bilik instrumen penyampai
1. Busbar 2. Cakera kenalan statik 3. Pemutus litar
4. Grounding suis 5. Semasa transformer
6. Pembahagi voltan kapasitif 7. Penangkap kilat
Rajah skematik Fig.2 struktur switchgear

1. Perumahan 2. Cawangan busbar kecil 3. Busbar lengan 4. busbar utama
5. Statik hubungi peranti 6. Statik hubungi peti 7. Semasa transformer
8. Suis asas 9. Kabel 10. Penangkap lonjakan 11. Bas utama hentakan
12. Memuatkan dan partition boleh tanggal 13. Partition (flap) 14. Palam sekunder
15. Pemutus litar handcart 16. Peranti pemanas 17. Partition mendatar Extractable
18. Mekanisme operasi suis asas 19. Plat asas
A: A.Bilik Busbar B. Pemutus litar handcart bilik C. Bilik kabel D. Bilik instrumen penyampai
1.1. Peranti bantuan tekanan 1.2. Kawalan trunking kecil
Memenuhi piawaian
Produk memenuhi piawaian berikut:
1.IEC-298
2.GB3906-1991
3.DLT404-19974. GB/T11022-1999
Skim pendawaian utama
| Nombor skim | 001 | 002 | 003 | 004 | 005 | |
Rajah laluan utama |
| |||||
| Undian semasa (A: A). | 630-4000 | |||||
Satu Tempoh Tuan rumah Mahu Elektrik Perkakas Yuan Item | Pemutus litar vakum | 1 | 1 | 1 | 1 | 1 |
| Pengubah semasa LZZBJ9-12 | 2 | 2 | 2 | 3 | 3 | |
| Voltan transformer RZL/REL | ||||||
| Pemutus tekanan tinggi (XRNP □) | ||||||
| Suis asas (EK6/JN15-12) | 1 | 1 | 1 | |||
| Lonjakan penangkap HY5WZ-17/45 | 3 | |||||
| kegunaan | Menerima kuasa dan kuasa makan | Menerima kuasa dan kuasa makan | Menerima kuasa dan kuasa makan | Menerima kuasa dan kuasa makan | Menerima kuasa dan kuasa makan | |
| Nombor skim | 006 | 007 | 008 | 009 | 010 | |
Rajah laluan utama |
| |||||
| Undian semasa (A: A). | 630-4000 | |||||
Satu Tempoh Tuan rumah Mahu Elektrik Perkakas Yuan Item | Pemutus litar vakum | 1 | 1 | 1 | 1 | 1 |
| Pengubah semasa LZZBJ9-12 | 3 | 2 | 2 | 2 | 2 | |
| Voltan transformer RZL/REL | ||||||
| Pemutus tekanan tinggi (XRNP □) | ||||||
| Suis asas (EK6/JN15-12) | 1 | 1 | 1 | |||
| Lonjakan penangkap HY5WZ-17/45 | 3 | |||||
| kegunaan | Suapan | Hubungi (kanan) | Hubungi (kanan) | Hubungi (kiri) | Hubungi (kiri) | |
| Nombor skim | 011 | 012 | 013 | 014 | 015 | |
Rajah laluan utama |
| |||||
| Undian semasa (A: A). | 630-4000 | |||||
Satu Tempoh Tuan rumah Mahu Elektrik Perkakas Yuan Item | Pemutus litar vakum | 1 | 1 | 1 | 1 | 1 |
| Pengubah semasa LZZBJ9-12 | 3 | 3 | 2 | 2 | 2 | |
| Voltan transformer RZL/REL | ||||||
| Pemutus tekanan tinggi (XRNP □) | ||||||
| Suis asas (EK6/JN15-12) | 1 | 1 | 1 | |||
| Lonjakan penangkap HY5WZ-17/45 | 3 | |||||
| kegunaan | Talian overhed (kenalan kanan) | Talian overhed (kenalan kanan) | Laluan masuk dan keluar overhed | Laluan masuk dan keluar overhed | Laluan masuk dan keluar overhed | |
| Nombor skim | 016 | 017 | 018 | 019 | 020 | |
Rajah laluan utama |
| |||||
| Undian semasa (A: A). | 630-4000 | |||||
Satu Tempoh Tuan rumah Mahu Elektrik Perkakas Yuan Item | Pemutus litar vakum | |||||
| Pengubah semasa LZZBJ9-12 | ||||||
| Voltan transformer RZL/REL | /3 | 2/ | /3 | 2/ | /2 | |
| Pemutus tekanan tinggi (XRNP □) | 3 | 3 | 3 | 3 | 3 | |
| Suis asas (EK6/JN15-12) | ||||||
| Lonjakan penangkap HY5WZ-17/45 | 3 | 3 | 3 | |||
| kegunaan | Penangkap lonjakan pengukuran voltan | Penangkap lonjakan pengukuran voltan | Penangkap lonjakan pengukuran voltan | Pengukuran voltan (pautan kiri) | Pengukuran voltan (pautan kanan) | |
| Nombor skim | 021 | 022 | 023 | 024 | 025 | |
Rajah laluan utama |
| |||||
| Undian semasa (A: A). | 630-4000 | |||||
Satu Tempoh Tuan rumah Mahu Elektrik Perkakas Yuan Item | Pemutus litar vakum | |||||
| Pengubah semasa LZZBJ9-12 | 2 | 2 | 3 | 3 | 2 | |
| Voltan transformer RZL/REL | 2/ | 2/ | 2/ | 2/ | /3 | |
| Pemutus tekanan tinggi (XRNP □) | 3 | 3 | 3 | 3 | 3 | |
| Suis asas (EK6/JN15-12) | ||||||
| Lonjakan penangkap HY5WZ-17/45 | ||||||
| kegunaan | Pengukuran hak couplet | Pengukuran kiri couplet | Pengukuran kiri couplet | Pengukuran hak couplet | Pengukuran kiri couplet | |
| Nombor skim | 026 | 027 | 028 | 029 | 030 | |
Rajah laluan utama |
| |||||
| Undian semasa (A: A). | 630-4000 | |||||
Satu Tempoh Tuan rumah Mahu Elektrik Perkakas Yuan Item | Pemutus litar vakum | 1 | ||||
| Pengubah semasa LZZBJ9-12 | 3 | Kapasitor Bm12.7-16-1 3 | ||||
| Voltan transformer RZL/REL | /3 | Transformer 1 | /4 | /4 | ||
| Pemutus tekanan tinggi (XRNP □) | 3 | 3 | (XRNT)3 | 3 | 3 | |
| Suis asas (EK6/JN15-12) | 1 | 1 | 1 | |||
| Lonjakan penangkap HY5WZ-17/45 | 3 | 3 | 3 | |||
| kegunaan | Pemeteran masuk | Kabinet pengubah yang digunakan (lebar kabinet ditentukan mengikut saiz saiz pembolehubah yang digunakan) | Kabinet kapasitor | Penangkap lonjakan pengukuran voltan | Penangkap lonjakan pengukuran voltan | |

◆Handcart yang Rangka handcart diperbuat daripada plat keluli nipis yang diproses oleh alat mesin CNC dan kemudian riveted dan dikimpal. Menurut permohonan itu, handcart boleh dibahagikan kepada handcart pemutus litar, handcart transformer voltan, handcart pengasingan, pemeteran handcart dan handcarts lain spesifikasi yang sama, yang mudah untuk tukar. Handcart mempunyai kedudukan pengasingan, kedudukan ujian dan kedudukan kerja di kabinet, dan setiap kedudukan dilengkapi dengan peranti kedudukan untuk memastikan bahawa handcart yang tidak boleh dipindahkan sahaja apabila ia berada dalam kedudukan di atas, dan interlock yang mesti dikeluarkan apabila handcart yang dipindahkan. |
|
◆B busbar Bas membawa dari satu suis kabinet yang lain melalui bas cawangan dan dulang kenalan statik. Bas cawangan rata diperketatkan ke dulang kenalan statik dan bas utama, tanpa memerlukan sebarang pengapit tambahan atau sambungan pelarian. A: Apabila pengguna dan projek mempunyai keperluan khas, bolt penyambung pada busbar boleh dimuatkan dengan penebat dan penutup akhir. A: Apabila busbar melintasi partition switchgear, ia tetap dengan lengan busbar. Sekiranya terdapat arka kesalahan dalaman, ia boleh mengehadkan penyebaran kemalangan ke kabinet bersebelahan dan memastikan kekuatan mekanikal busbar. |
|
◆C bilik kabel Transformer semasa, suis asas, penangkap kilat dan kabel boleh dipasang di bilik kabel, dan plat aluminium yang boleh ditanggalkan dengan celah disediakan di bahagian bawah bilik kabel untuk memastikan kemudahan pembinaan di tapak. |
|
◆D penyampai instrumen bilik Bilik instrumen relay digunakan untuk memasang pelbagai relay, instrumen, petunjuk isyarat, suis operasi dan komponen lain. Di samping itu, bilik busbar kecil boleh ditambah ke bahagian atas bilik instrumen mengikut keperluan pengguna, dan bas kawalan enam belas hala boleh diletakkan. |
|
◆Struktur kunci Sambungan antara pintu tengah dan kabinet mengamalkan struktur kunci, dan dilengkapi dengan mekanisme mengangkat untuk menjadikan pintu tengah lebih mudah dibuka, dan apabila pintu tengah ditutup, kekuatan sambungan di antara ia dan kabinet lebih baik, Yang meningkatkan keupayaan untuk berkesan menentang kesalahan pembakaran arka dalaman. |
|
◆D bilik instrumen Relay pintu bilik instrumen ditutup, dan bilik instrumen berada di pandangan depan. | ◆Peranti bantuan tekanan A: Apabila pemutus litar atau busbar utama, bilik kabel mempunyai arka kesalahan dalaman, dengan penampilan elektrik, tekanan udara di dalam suis naik, dan selepas mencapai tekanan tertentu, Plat logam pelepasan tekanan peranti teratas akan dibuka secara automatik untuk melepaskan gas tekanan dan pelepasan untuk memastikan keselamatan pengendali dan switchgear. |
