Kami akan membentangkan prestasi, kaedah operasi yang selamat, dan parameter teknikal transformer: S9\ S11\ S13 Transformer yang diisi cecair

Manual ini boleh digunakan untuk pengubah kuasa tenggelam minyak yang dihasilkan oleh syarikat kami, dengan kapasiti 3150KVA dan di bawah, dan tahap voltan 35KV dan di bawah.
1. Penggunaan dan ciri-ciri
Sebagai tambahan kepada sesuai untuk pengubah kuasa umum, pengubah tenggelam minyak dimeteraikan sepenuhnya amat sesuai untuk petrokimia, metalurgi, tekstil, industri ringan, dan perusahaan, lombong, dan kawasan luar bandar dengan kelembapan yang tinggi dan penyelenggaraan yang tidak mudah.
Produk ini membatalkan peranti perlindungan minyak seperti kabinet simpanan minyak dan penyerap kelembapan untuk memastikan bahawa minyak transformer tidak bersentuhan dengan udara, semua meterai dimeteraikan dengan getah khas yang sangat baik, menggunakan suntikan minyak vakum, dalam keadaan biasa, transformer boleh digunakan secara berterusan selama 20 tahun tanpa sebarang rawatan, kos penyelenggaraan yang rendah adalah ciri utama produk ini, dan kebolehpercayaan operasi dipertingkatkan, hayat perkhidmatan dilanjutkan.
2. Penerangan Model
S□- M-□ □
S - Tiga fasa
□ - Kod Tahap Prestasi (11, 13, 20)
M - dimeterai
□ - Kapasiti yang dinilai (kVA)
□ - Tahap Voltan Voltan Tinggi (10kV)
3. Pengangkutan
1. Semasa pengangkutan dan pemasangan, apabila mengangkat transformer, empat kren di tangki bahan api harus digunakan pada masa yang sama untuk menanggung jumlah berat transformer selepas pemasangan akhir transformer diisi dengan jumlah minyak transformer. Sekiranya keperluan ini tidak boleh dipenuhi, pengubah angkat rasuk khas perlu digunakan.
2. Bahagian-bahagian pengikat produk ini semua kacang longgar untuk memastikan pengikat yang boleh dipercayai. Walau bagaimanapun, semasa pengangkutan, masih perlu untuk memastikan bahawa transformer mempunyai kestabilan yang mencukupi, dan cerun transformer tidak boleh lebih besar daripada 15 °. Apabila mengangkat, ia harus diangkat dan dilepaskan dengan lembut, dan di bawah syarat tiada peralatan angkat, tanah harus bergerak perlahan untuk mengelakkan getaran ganas.
4. Penerimaan dan Penyimpan
1. Selepas menerima pengubah, pengguna harus segera memeriksa model produk dan spesifikasi yang diterima mengikut papan nama, sama ada spesifikasi konsisten dengan kontrak pesanan, dan kemudian memeriksa dengan teliti sama ada terdapat kerosakan pada setiap bahagian pengubah, sama ada bahagian-bahagian yang terdedah, seperti termometer isyarat, sarung, dan lain-lain, rosak, dan sama ada hos termometer isyarat diratakan dan rosak. Perhatian khusus harus dibayar kepada integriti lengan porselen, yang dinilai mengikut sama ada terdapat rembesan minyak dalam sarung, dan periksa sama ada terdapat kebocoran minyak atau kebocoran minyak di setiap bahagian pengedap pengubah.
2. Sekiranya pengubah tidak dipasang dan dimasukkan ke dalam operasi dengan serta-merta dan perlu disimpan untuk masa yang lama, semua meterai harus dimeteraikan, alat ganti harus disimpan dengan betul, dan keadaan simpanan harus diperiksa dengan kerap.
5. pemasangan dan penyelenggaraan transformer
1. Pemasangan transformer
1.1 Pengguna menggunakan forklift atau alat pengendalian lain untuk mengangkut transformer dengan lancar ke kedudukan pemasangan yang ditetapkan.
1.2 Berhati-hati untuk tidak merosakkan sarung dan bahagian-bahagian memakai yang lain semasa pemasangan, dan jangan menggaru tangki bahan api atau menggaru filem cat.
2. Kriteria pemeriksaan dan penilaian sebelum pengubah dimasukkan ke dalam operasi
2.1 Selepas pengubah kuasa minyak yang dimeteraikan sepenuhnya diangkut kepada pengguna, tidak perlu memeriksa terasnya.
2.2 Transformer perlu diuji mengikut "Standard Ujian untuk Penyerahan Peralatan Elektrik dalam Kejuruteraan Pemasangan Elektrik".
2.2.1 Mengukur rintangan DC penggulungan dan lengan, dan nilai tidak boleh lebih daripada 2% berbanding dengan nilai diukur kilang pada suhu yang sama.
2.2.2 Periksa perubahan semua paip dan tidak boleh ada perbezaan yang ketara berbanding dengan data kilang.
2.2.3 Periksa sama ada penamaan kumpulan gandingan pengubah selaras dengan tanda papan nama.
2.2.4 Nilai rintangan penebat hendaklah berhampiran dengan nilai kilang pada suhu yang sama, dan tidak boleh kurang daripada nilai dalam Jadual 1.
Jadual 1 Nilai rintangan penebat (MΩ)
suhu badan
| 20 | 30 | 40 | 50 | 60 |
<6 | 400 | 200 | 100 | 50 | 25 |
6 atau lebih tetapi kurang daripada 20 | 800 | 400 | 200 | 100 | 50 |
20 atau lebih daripada 60 | 1000 | 500 | 250 | 125 | 65 |
Perkataan: 1. Gegelung di bawah ujian akan dibumi semasa pengukuran. 2. Menggunakan meter megaohm 2500V atau meter khas.
2.2.5 Frekuensi pembinaan luaran menahan voltan ujian voltan penggulungan dan sarung ditunjukkan dalam Jadual 2.
Jadual 2 Piawaian eksperimen untuk frekuensi kuasa penebat menahan voltan peralatan elektrik voltan tinggi
Voltan yang dinilai (KV). | 3 | 6 | 10 | 15 | 20 | 35 |
Nilai eksperimen kilang | 18 | 25 | 35 | 45 | 55 | 85 |
Menyerahkan nilai eksperimen | 15 | 21 | 30 | 38 | 47 | 72 |
2.2.6 Item ujian konvensional minyak transformer diperiksa mengikut keperluan minyak baru (sebelum dimasukkan ke dalam operasi), lihat Jadual 3.
Jadual 3 Barangan eksperimen dan piawaian minyak transformer sebelum dimasukkan ke dalam operasi
nombor siri | Item-item | Minyak baru di dalam tangki sebelum dimasukkan ke dalam operasi |
1 | kemunculan | Telus dan bebas daripada kekotoran |
2 | Titik kilat C (dimeteraikan) | 140 |
3 | Kelembapan mg/1 (ppm). | ≤20 |
4 | Nilai asid mgKOH / g | <0.03 |
5 | Voltan pecahan KV (2.5mm mm) Jurang minyak | 35KV dan di bawah: ≥35 |
6 | Medium hilang tangen tangen sebanyak 8% (90 °C). | ≤0.7 |
7 | Ketegangan antara muka mN/m (25 °C). | ≥35 |
8 | Asid larut air (PH). | ≥5.4 |
2.2.7 Kaedah pengumpulan sampel minyak
(1)Gosok dan keringkan cawan ujian kaca dengan diameter kira-kira 80-100mm mm dan tong suntikan kira-kira 100ml.
(2)Membuka skru penutup injap sampel minyak di bahagian bawah tangki bahan api.
(3)Sapukan outlet injap sampel minyak dan kawasan sekitar bersih dengan kertas atau kain bersih.
(4)Jajarkan cawan ujian kaca dengan outlet injap.
(5)Gunakan kunci untuk perlahan-lahan membuka bolt injap sampel minyak untuk membiarkan minyak mengalir ke dalam cawan, dan pada masa yang sama letakkan jarum suntikan ke dalam outlet minyak injap sampel minyak untuk menarik sampel minyak.
(6)Jumlah sampel minyak ditentukan oleh pengguna mengikut keperluan projek percubaan.
(7)Apabila sampel minyak dikumpulkan, mengetatkan bolt injap sampel minyak dan penutup injap.
(8)Buka penutup paip suntikan minyak di bahagian atas penutup kotak pengubah, dan perlahan-lahan tuangkan minyak pengubah model yang sama, berat yang sama, dan lulus ujian ke dalam paip suntikan minyak, dan mengetatkan penutup paip suntikan minyak, dan sampel minyak dan proses pengisian semula minyak selesai.
3. Penyelenggaraan transformer
3.1 Piawaian penyelenggaraan dan pemeriksaan pengubah tenggelam minyak dimeteraikan sepenuhnya adalah seperti berikut dalam Jadual 4 dan Jadual 5.
Jadual 4 Piawaian pemeriksaan biasa
nombor siri | Item pemeriksaan | Pemeriksaan penting | Siklus | Kriteria Penghakiman | maklum balas |
1 | Rintangan penebat | Penggunaan meter goyang 2500V atau a Alat pengukur dengan kesan yang sama Mengukur tahap ke tanah | Tidak teratur | Bahagian 35KV: 270MΩ Bahagian 10KV: 200M Ω 1KV sisi: 50M Ω | Selepas Selepas overvoltage yang serius atau kemalangan yang seriusini, ini Eksperimen dilaksanakan |
2 | Minyak penebat | Analisis kromatografi | 6 tahun | GB7252-87 "Garis panduan untuk Analisis Dan Penghakiman daripada dibubarkan Gas dalam Minyak Transformer " | Selepas Selepas overvoltage yang serius atau kemalangan yang seriusini, ini Tempoh kajian tidak terhad kepada tempoh |
3 | Termometer | 1. Pemeriksaan tapak dalaman (karat dan penyerapan kelembapan) 2. Syarat gas 3. Indikasi suhu, menunjukkan tindakan 4. Penilaian suhu | 2 tahun | 1. Tiada karat 2. Tiada kerosakan 3. Tunjukkan tindakan normal (dengan lembut ketik) 4.85 ° C | |
4 | Pengukur paras minyak | 1. Pemeriksaan luaran 2. Sekiranya permukaan minyak penuh dengan minyak | 1 Tahun | 1. Tiada karat, tidak Minyak berwarna pada kaca kaca 2. Apakah garis permukaan minyak boleh dilihat | Tiada pengukur paras minyak Item ini tidak akan diperiksa |
5 | sarung | 1. Status terminal 2. Status Lengan 3. Adakah kebocoran minyak? | 2 tahun | 1. Tiada pelepasan atau pelepasan 2. Tiada kerosakan atau penghinaan 3. Tiada kebocoran minyak atau kebocoran udara | Sekiranya terdapat sebarang anomali, ia mesti diuruskan dalam masa |
6 | Grounding wayar | Negara kasar | 2 tahun | Tiada kendur, tiada wayar yang patah | |
7 | Tekanan injap pelepasan | 1. Apakah minyak itu minyak 2. Sama ada sambungan wayar utama ialah firma | 2 tahun | 1. Tiada rembesan minyak 2. Sekiranya terdapat sebarang keabnormalan, ia perlu ditangani dalam masa | Jika terdapat kebocoran Menguruskannya secara tepat pada masanya |
Jadual 5 Standard pemeriksaan harian
nombor siri | Item pemeriksaan | Pemeriksaan penting | Siklus | Kriteria Penghakiman | maklum balas |
1 | Kemunculan badan | Tiada kotoran, retak atau rembesan minyak | bulan Januari | tidak boleh ada kotoran, retak, kebocoran minyak, dan lain-lain | Sekiranya terdapat sebarang anomali, ia mesti diuruskan dalam masa |
2 | Bunyi dan bau daripada yang badan | bunyi yang tidak normal dan berbau (mendengar, bau) | bulan Januari | 1. bunyi dan getaran yang disebabkan oleh kegembiraan ialah normal 2. Yang tidak normal bunyi-bunyi Seperti mengendurkan dan melepaskan kacang pengikat bahagian konduktif 3. Pembakaran penebat Mempunyai bau yang istimewa | Sekiranya terdapat sebarang kelainan, Menyiasat sebab dan menangani perkara itu dalam cara yang tepat pada masanya |
3 | Suhu tubuh | Adakah kenaikan suhu normal | bulan Januari | Beban arus Diperkenalkan oleh Transformer berkaitan dengan kenaikan suhu minyak permukaan | Sekiranya terdapat sebarang kelainan, Menyiasat punca dan menangani dengan ia dalam sebuah cara yang tepat pada masanya |
4 | Permukaan minyak badan | Apakah permukaan minyak normal (jadual permukaan minyak) | bulan Januari | Minyak mesti diisi dengan pengukur paras minyak | Jika terdapat tiada tolok paras minyak, Tiada pemeriksaan tempat boleh dilakukan |
5 | semasa | Sekiranya nilai semasa melebihi nilai yang dibenarkan dan Apakah tiga fasa semasa seimbang (Amm mmeter) | bulan Januari | Setiap fasa semasa kira-kira seimbang dalam julat yang dinilai | Jika Ketidakseimbangan seriusmestilah disesuaikan dalam tempoh masa |
3.2 Rawatan rembesan minyak dan kaedah penambahan semula minyak
3.2.1 Sekiranya rembesan minyak di meterai bocor, spiral boleh diketatkan dengan kunci dan noda minyak boleh dihapuskan kering.
3.2.2 Sekiranya bahan pengedap menyebabkan rembesan minyak, meterai perlu digantikan.
3.2.3 Perasmian minyak dalam kimpalan perlu ditangani dalam masa.
3.2.4 Selepas rawatan rembesan minyak, kaedah pengisian semula minyak adalah sama seperti titik 8 daripada 2.2.7.
3.2.4.1 Jumlah peng isian minyak : Dalam keadaan biasa , jumlah minyak yang mer emb es keluar dari tang ki kecil , jadi jumlah peng isian minyak ter tak luk kepada peng isian minyak pada tud ung tang ki , dan suhu minyak dan suhu ambi en pada masa itu boleh dia baikan .
3.3 Tujuan suntikan minyak vakum pengubah dimeteraikan sepenuhnya adalah untuk menghapuskan gas dalam gegelung sebanyak mungkin di bawah keadaan vakum, supaya minyak pengubah boleh mengisi jurang di dalam gegelung dan bahan penebat, dan meningkatkan prestasi penebat dan hayat perkhidmatan pengubah. Oleh kerana jumlah pengisian semula minyak disebabkan oleh rembesan minyak sangat kecil, ia tidak menjejaskan kuasa mutlak gegelung
Prestasi tepi (pengilang menetapkan dalam proses suntikan minyak vakum: di bawah syarat suntikan minyak vakum, minyak disuntik kira-kira 100mm mm dari tudung kotak, dan kemudian suntikan minyak dihentikan, tetapi vakum diteruskan selama 1 jam, dan kemudian minyak disuntik dari paip suntikan minyak dari tudung kotak untuk menjadikan paras minyak naik ke bahagian atas paip suntikan minyak).
6. Mod operasi dibenarkan
1. Mod operasi yang dinilai
1.1 Transformer mesti dilengkapi dengan relay perlindungan suhu, yang boleh dikendalikan mengikut spesifikasi papan nama di bawah keadaan penyejukan yang ditentukan.
1.2 Suhu yang dibenarkan semasa operasi transformer diperiksa mengikut kenaikan suhu minyak atas, dan nilai yang dibenarkan kenaikan suhu minyak atas ialah 55 °C, tetapi suhu maksimum tidak boleh melebihi 95 °C. Untuk mengelakkan penuaan pesat minyak transformer, suhu minyak atas tidak boleh sering melebihi 85 ° C.
1.3 Voltan yang digunakan transformer step-up dan transformer step-down boleh lebih tinggi daripada nilai yang dinilai, tetapi secara amnya tidak lebih daripada 5% daripada nilai yang dinilai, tidak kira di mana paip voltan terletak, jika voltan utama digunakan, ia tidak melebihi 5% daripada nilai voltan yang sepadan, maka sisi sekunder transformer boleh mempunyai arus yang dinilai.
2. Beban berlebihan yang dibenarkan
2.1 Transformer boleh beroperasi di bawah beban berlebihan biasa dan beban berlebihan kemalangan. Beban berlebihan biasa boleh digunakan secara berkala, dan nilai yang dibenarkan ditentukan mengikut lengkung beban transformer, pusat suhu medium penyejukan, dan beban transformer sebelum beban berlebihan. Kelebihan kemalangan hanya boleh digunakan dalam keadaan kemalangan. Sebagai contoh, jika salah satu daripada beberapa pengubah dalam operasi rosak dan tidak ada pengubah sandaran, selebihnya pengubah dibenarkan beroperasi mengikut beban kemalangan.
2.2 Nilai yang dibenarkan daripada beban berlebihan kemalangan transformer hendaklah dinyatakan dalam jadual berikut:
| Nisbah beban berlebihan kemalangan kepada beban yang diberi nilai | 1.3 | 1.5 | 1.75 | 2.0 | 3.0 |
Tempoh yang dibenarkan beban berlebihan (minit) | 120 | 45 | 20 | 10 | 1.5 |
3. arus arus yang tidak seimbang daripada arus litar pendek yang dibenarkan.
3.1 arus litar pintas transformer tidak boleh melebihi 25 kali arus yang dinilai, dan masa laluan arus litar pintas tidak boleh melebihi nilai yang dikira mengikut formula berikut::
T = 900 / K saat, di mana K ialah gandaan arus litar pintas stabil kepada arus yang diberi nilai.
3.2 Untuk transformer yang gegelungnya disambungkan mengikut Y, yn0, arus pertengahan biasanya tidak boleh melebihi 25% daripada arus yang dinilai gegelung voltan rendah (kecuali untuk keperluan khas dari pengguna)
Manual arahan untuk komponen am pengubah kuasa minyak yang direndam
1. Gambaran keseluruhan
Manual arahan ini sesuai untuk komponen am pengubah kuasa yang dihasilkan oleh kilang kami, termasuk sarung, penukar paip, injap pelepasan tekanan, penutup sampel minyak, kerusi termometer, bolt tanah, dan injap saliran minyak. Komponen standard lain disertai dengan manual arahan.
2. Penggunaan dan penyelenggaraan
(1)Manual arahan untuk bushings transformer 35 kilovolts dan di bawah

Rajah 1

Rajah 2 Rajah 3
1. Ra jah 1 adalah sar ung kom posit , digunakan untuk vol tan 1 ribu volt dan di bawah , semasa ialah 300 -3 000 A . Ra jah 2 adalah lengan jenis kabel , yang digunakan untuk vol tan 10 ribu volt , semasa ialah 50 -300 A . Ra jah 3 menunjukkan lengan ber uli r dengan vol tan 35 k V dan arus 35 -6 00 A .
2. Apabila pengubah meninggalkan kilang, sarung dipasang di tangki minyak pengubah dan dihantar kepada pengguna bersama-sama dengan pengubah.
3. Sekiranya anda perlu membongkar atau menggantikan jenis porselin, ia harus dilakukan dengan cara berikut.
(1)sarung komposit, pertama angkat badan angkat, kemudian keluarkan plumbum bahagian bawah sarung, dan akhirnya membuka semua kacang pengikat, keluarkan sarung dan gantikan sarung penggantian yang telah digosok dan dikeringkan.
(2)Untuk sarung jenis kabel, apabila menggantikan sarung, sarung boleh digantikan secara luaran, dan kacang sendi harus dibuka apabila digantikan, dan sendi harus ditarik dengan dawai tembaga atau tali pinggang benang untuk mengelakkan tergelincir ke dalam tangki minyak, dan kemudian dikeluarkan, penutup porselen, gasket pengedap dan plat tekanan, dan sebagainya.
4. Apabila memasang sarung pada tangki bahan api transformer, perkara-perkara berikut perlu diperhatikan::
(1)Untuk sarung komposit, untuk sepenuhnya menjepit bahagian porselen pada penutup kotak pengubah untuk mengelakkan kebocoran minyak, bahagian atas dan bawah sarung mesti diketatkan untuk mengikat kacang bahagian porselen.
(2)Untuk sarung jenis kabel, kacang skru penekan yang menetapkan sarung mestilah diperketat secara sama rata, dan kemudian rod konduktif ditetapkan selepas sarung dipasang dengan kukuh di tangki minyak transformer.
5. Dalam kegunaan kekal, sarung harus kerap digosok mengikut keadaan kotoran untuk mengelakkan permukaan lengan porselen daripada dilepaskan.
(2)Tiada pengubah paip penggetaran
Transformer kuasa dimeteraikan penuh minyak tiga fasa yang dihasilkan oleh syarikat kami biasanya dilengkapi dengan penukar paip tanpa beban jenis WSP pada penutup kotak, untuk menukar penukar paip sisi voltan tinggi apabila tidak ada elektrik.
1. Struktur tipikal WSPII1 jenis bukan penggetaran neutral titik pengawal voltan ketuk-penukar ditunjukkan dalam Rajah 4.
2. Untuk nilai voltan yang ditunjukkan oleh petunjuk digital dail penukar paip dalam julat peraturan voltan ± 5%: 1 menunjukkan penyambung paip dengan 5% daripada nilai voltan yang dinilai, 2 menunjukkan nilai voltan yang dinilai, dan 3 menunjukkan penyambung paip dengan -5% daripada nilai voltan yang dinilai.
3. Apabila menukar kedudukan penukar paip, skru pada penutup item 4 mesti dibuka dan dikeluarkan, bahagian kedudukan pemegang item 3 mesti ditarik keluar dari lubang alur, dan kemudian item 2 diputar ke kedudukan paip yang diperlukan, dan bahagian kedudukan pemegang mesti tertanam dalam lubang alur yang sepadan dan dilindungi dengan penutup.
4. Sekiranya penukar paip sering berfungsi dalam satu kedudukan kerana keperluan transformer, untuk menghapuskan filem oksida dan noda minyak pada bahagian kenalan dan memastikan hubungan yang baik, tanpa mengira sama ada transformer perlu menukar voltan, penukar paip harus diputar sekurang-kurangnya 10 kali setahun. Sekiranya tidak perlu menukar voltan, ia masih akan tetap di kedudukan asal selepas putaran, dan kedudukan paip perlu diubah dan jambatan atau multimeter perlu digunakan untuk mengukur laluan sebelum ia boleh dimasukkan ke dalam operasi.
5. Sekiranya minyak pengubah didapati bocor keluar daripada penukar paip, ketahui di mana ia bocor. Sekiranya minyak bocor dari penutup tangki bahan api transformer dan bibir penukar paip, kacang rata item 6 harus diketatkan dengan segera, dan jika aci dan bibir bocor minyak, kacang item 5 harus diketatkan, tetapi ia tidak boleh diketatkan terlalu ketat untuk mengelakkan peningkatan tork putaran yang berlebihan.

Rajah 4 WSPIII Jenis 1 penukar paip
Sekiranya ia adalah peraturan voltan tengah, penukar ketuk bukan gairah WPS II.1 digunakan, dan kaedah operasi dan penyelenggaraan pada dasarnya sama dengan di atas. Untuk penukar paip bukan penggetaran selain daripada di atas, sila rujuk manual penukar paip yang sepadan untuk maklumat lanjut.
(3)Tekanan pelepasan injap
1. Penggunaan Produk dan Pengenalan Prestasi:
Injap pelepasan tekanan (selepas ini dirujuk sebagai injap pelepasan) sesuai untuk transformer cecair atau gas yang terlindung, transformer, pengubah paip beban, suis voltan tinggi, kapasitor dan produk lain untuk melindungi tangki bahan api.
Apabila kemalangan berlaku di dalam pengubah atau penukar paip beban, sebahagian daripada pengubah gas, menyebabkan tekanan di dalam tangki pengubah meningkat dengan pesat. Sekiranya anda tidak mengambil perlindungan yang boleh dipercayai, tangki boleh ubah bentuk atau bahkan pecah. Injap pelepasan melindungi tangki pengubah daripada kerosakan. Apabila tekanan tangki bahan api mencapai tekanan kerja injap pelepasan, injap pelepasan akan dibuka dalam masa 2 milisaat untuk melepaskan tekanan berlebihan di dalam tangki bahan api dalam masa.
Sebaik sahaja injap pelepasan dibuka, tekanan dalam tangki bahan api turun kepada kira-kira 53-55% daripada tekanan operasi, dan injap pelepasan boleh ditutup dengan pasti. Fungsi khas injap pelepasan ini adalah keperluan khas objek perlindungan, yang berkesan boleh melindungi tangki bahan api daripada kerosakan. Apabila tekanan di dalam tangki meningkat lagi dan mencapai tekanan operasi, injap pelepasan akan bertindak lagi sehingga tekanan di dalam tangki jatuh ke nilai normal. Apabila pengubah kuasa dihidupkan, keselamatan 11 mesti dikeluarkan.
Kerana injap pelepasan boleh ditutup dengan boleh dipercayai selepas tindakan, udara dan air di luar tangki bahan api tidak boleh memasuki tangki bahan api, dan minyak transformer tidak akan tercemar oleh atmosfera.
2. Model, spesifikasi, dan parameter asas
2.1 model
YSF□-□ □ □
YSF – Kod injap pelepasan tekanan
□ - Nombor siri reka bentuk
□ – Menghidupkan tekanan kPa
□ - kualiti suntikan minyak yang berkesan mm mm
□ - Isyarat penggera keadaan alam sekitar dan peranti pengunci*
*: 1. Digunakan untuk tanda isyarat mekanikal "J".
2. Untuk kegunaan di kawasan tropika lembap, tambah "TH" selepas tanda "J".
3. Sekiranya peranti mengunci digunakan, kemudian tambahkan "B" selepasnya.
Sebagai contoh: YSF6-35/25JTHB
Iaitu, diameter suntikan minyak φ 25mm mm, tekanan pembukaan ialah 35kPa, dengan isyarat penggera mekanikal, ia digunakan untuk peranti pengunci zon lembap dan panas, dan reka bentuk keenam injap pelepasan tekanan.
2.1 Spesifikasi dan parameter asas ditunjukkan dalam Jadual 1
3. Struktur injap pelepasan tekanan struktural ditunjukkan dalam Rajah 5.
Jadual 1 Spesifikasi dan parameter asas
Berkesan kaliber (mm mm) | Menghidupkan tekanan (kPa) | Had tekanan terbuka penyimpangan (kPa). | Matikan tekanan (kPa) | Tekanan pengedap (kPa) |
φ25 φ50 | 15 | ±5 | 8 | 9 |
25 | 13.5 | 15 | ||
35 | 19 | 21 | ||
55 | 29.5 | 33 |

Rajah 5 Rajah skematik struktur injap pelepasan tekanan
4. Penggunaan
Pilih peralatan injap pelepasan dengan peranti pengikat, dan pin pengikat harus dikeluarkan sebelum peralatan dimasukkan ke dalam operasi, jika tidak injap tidak boleh dibuka.
Selepas operasi injap pelepasan tekanan semasa operasi, rod penanda perlu ditetapkan semula selepas kesalahan dijumpai untuk kegunaan semula. Injap pelepasan tidak boleh dikeluarkan sesuka hati semasa pemasangan.
Injap pelepasan tekanan mempunyai kebocoran minyak, dan langkah-langkah perlu diambil untuk menyelesaikannya dalam masa, dan sebab-sebab utama untuk kebocoran minyak adalah kira-kira seperti berikut::
a. Atas sebab tertentu, tekanan di dalam tangki bahan api terlalu tinggi, yang telah melebihi tekanan pengedap injap pelepasan tetapi belum mencapai tekanan pembukaan, menyebabkan kebocoran.
b. Perkhidmatan Sesetengah cincin kedap dalam injap telah tua dan gagal, dan cincin kedap yang gagal harus digantikan dengan pengeluar dalam masa.
c. Menggunakan kaedah Sekiranya terdapat objek asing di permukaan pengedap, ia boleh dihapuskan dalam masa.
5. Penyelenggaraan dan pembaikan semula
5.1 Mengambil kesempatan daripada peluang setiap penyelenggaraan gangguan kuasa peralatan elektrik untuk menjalankan penyelenggaraan berikut injap.
a. Sama ada tindakan pembukaan sensitif.
b. Perkhidmatan Sama ada cincin kedap telah tua, cacat atau rosak. Sekiranya terdapat sebarang keabnormalan, mereka mesti digantikan dalam masa untuk mengelakkan kebocoran minyak atau kegagalan injap pelepasan disebabkan oleh penuaan cincin getah.
c. Menggunakan kaedah Keluarkan badan asing di dalam injap.
d. Perkhidmatan Sama ada bahagian-bahagian berkarat, cacat atau rosak.
5.2 Pengguna perlu menyediakan beberapa injap pelepasan dalam kes penggantian semasa pemeriksaan.
(4)Sampel minyak flap
Ia biasanya dipasang ke arah sisi tekanan rendah bahagian bawah tangki bahan api untuk sampel minyak. Apabila menggunakan, pertama kali membuka skru penutup, letakkan hos sampel minyak pada sendi lembut 1: kemudian perlahan-lahan memutar palam sehingga minyak boleh dikeluarkan dari penyambung, dan skru penutup selepas selesai.

Rajah 6.
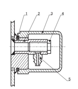
(5)Kerusi termometer
Untuk mengukur kenaikan suhu permukaan minyak pengubah. Termometer merkuri untuk pengukuran disediakan oleh pengguna. Struktur kerusi termometer ditunjukkan pada Rajah 7. Soket sensor suhu diisi dengan minyak transformer, dan apabila kenaikan suhu permukaan minyak diukur, hanya buka penutup dan masukkan termometer merkuri. Selepas mengukur, keluarkan termometer dan kencang penutup lagi.

Rajah 7
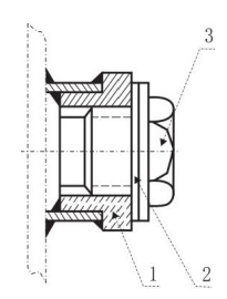
(6)Grounding bolts
Bolt ground dikimpal ke bahagian bawah sisi voltan rendah tangki untuk grounding keseluruhan transformer. Strukturnya ditunjukkan pada Rajah 8. Dalam mesin basuh item 2, sambungan isi rumah disambungkan ke basbar tanah, dan bolt item 3 diperketat untuk memastikan operasi yang selamat dari pengubah. Untuk memudahkan pengenalan, terdapat tanda asas.

Rajah 8.
(7)Minyak flap
Injap saliran minyak dipasang ke arah sisi voltan rendah tangki bahan api untuk kemalangan transformer atau untuk pembersihan dan mengalirkan minyak.

Gambar 9

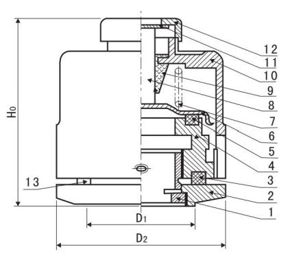
Komponen pengubah kuasa minyak yang dimeteraikan sepenuhnya
nombor siri | Kod | Nama | kuantiti | Nota-nota |
11 | pengubah paip | 1 | ||
10 | Mount termometer isyarat | 1 | Di sana lebih daripada 1000KVA | |
9 | Pemegang termometer merkuri | 1 | ||
8 | Bolt tanah | 1 | ||
7 | Sampel minyak flap | 1 | ||
6 | Kabinet Transformer | 1 | ||
5 | Relai Gas | 1 | Terdapat lebih daripada 800KVA | |
4 | Sarung tekanan rendah | 4 | ||
3 | sarung tekanan tinggi | 3 | ||
2 | Pengukur paras minyak | 1 | ||
1 | Tekanan pelepasan injap | 1 |
Kami akan memb ent angkan prestasi , kaedah operasi yang selamat , dan param eter teknikal trans former : S 9 \ S 11 \ S 13 Trans form ers Ce cair Di isi